Другие проблемы
Иногда индикатор давления в шинах снова включается, и это указывает на большую проблему. Вот о чем это может говорить:
- Одна из шин может иметь медленную утечку воздуха
- Система может иметь внутреннюю неисправность, которая препятствует ее правильному функционированию
- Датчик колеса требует замены (в непрямой/косвенной системе управления давлением в шинах)
В непрямой системе контроля давления в шинах, если датчик вышел из строя, также загорается контрольная лампа системы ABS. В каждом случае это означает, что транспортное средство должно быть продиагностировано в техническом центре, где автомеханик может обнаружить проблему и исправить ее. Также в сервисе вам помогут отремонтировать или заменить неисправный компонент системы контроля давления в шинах.
Признаки неисправности рулевой рейки
Признаки неисправности могут отличаться в зависимости от типа устройства.
ГУР
В случае повреждений рулевой рейки с ГУР могут проявиться следующие симптомы:
- Посторонние звуки при маневрах. При повороте рулевого колеса в левую или правую сторону слышен гул, что требует проверки ГУР (низкий уровень жидкости) и его комплектующих. Посторонний звук может появиться и в том случае, когда уровень рабочей жидкости нормальный. Источником могут быть лопасти насоса, ремень привода и подшипники.
- Утечка жидкости. Одна из главных причин поломки рулевой рейки с ГУР является появление течи в системе. Проблема проявляется постоянным снижением уровня рабочей жидкости и необходимости ее доливки. Состав может вытекать на землю под авто в области расширительного бака, или же следы масла заметны на пыльниках рулевых тяг. Снижение давление в система усложняет управление автомобилем (необходимо больше усилие).
- Ржавчина на рейке. Это связано с бурлением масла в бачке и ее вытеканием на рассматриваемый узел. Для избавления от течи нужно использовать специальные пластиковые хомуты для протяжки пыльников.
- Стуки в передней оси. Появление посторонних звуков в передней части может свидетельствовать не только о неисправностях рулевой рейки, но и проблемах ходовой. Для принятия решения о замене / ремонте нужно провести дополнительную проверку. При этом стук может появляться справа или слева. В лучшем случае проблема связана с повреждением пыльника тяги, а в более сложных случаях — с неисправностями самих тяг, рычагов или иных элементов (механизмов).
С электроусителем
При наличии электроусилителя симптомы неисправности могут быть иными:
- Разбитые втулки. Появление гула или дребезг при движении руля часто обусловлено повреждением втулок. Для подтверждения или опровержения этой версии необходимо снять деталь и проверить ее состояние. Чаще всего эти элементы не ремонтопригодны, поэтому у владельца имеется два пути — заменить рейку или использовать ремкомплект, в который входят новые детали.
- Электрический привод. В автомобилях ВАЗ, оборудованных электроусителем руля, могут возникать проблемы с электроприводом из-за износа или других проблем. Для восстановления работоспособности может потребоваться проверка состояния обмоток, подшипников и щеток.
- Повреждение датчиков поворота. Несмотря на надежность этих устройств, они могут работать некорректно при повреждении пыльника и попадании влаги на поверхность.
Механическая
Несмотря на простоту конструкции, механическая рулевая рейка также имеет свойство ломаться.
К основным признакам поломки стоит отнести:
- Стуки или посторонние звуки при вращении рулевого колеса.
- Провалы или проблемы при вращении руля.
- Ухудшение управляемости.
- Появление биения в рулевое колесо.
- Сложность возврата руля в первоначальное положение после поворота.
- Рывки или закусывание при повороте.
Из сказанного ясно, что в механической рулевой рейке неисправность, как правило, проявляется посторонними звуками и трудностями вращения.
Снятие масляного поддона

Перед снятием верхнего масляного поддона сначала снимите датчик положения коленвала (ВМТ). Будьте осторожны, чтобы не повредить края датчика и зубцы сигнального диска.
1. Снимите правую нижнюю крышку двигателя.
3. Снимите кронштейн компрессора кондиционера.
4. Открутите болты нижнего масляного поддона.
• Ослабляйте болты в порядке, обратном показанному на рисунке.
5. Снимите нижний масляный поддон.
а. Вставьте резец между верхним и нижним поддонами.
• Будьте осторожны, чтобы не повредить алюминиевую контактную поверхность.
• Не пользуйтесь отверткой, в противном случае можно деформировать фланец масляного поддона.
b. Постукивая молотком сбоку резца, постепенно двигайтесь по периметру поддона.
6. Снимите фильтр грубой очистки масла.
7. Снимите переднюю выхлопную трубу ее кронштейн (см. гл. «акселератор, топливная система и система выпуска»),
8. Подставьте подходящий домкрат под коробку передач и приподнимите двигатель на стропах.
• Установите домкрат как можно ближе к центру.
9. Открутите болты и гайки переднего и заднего креплений двигателя.
10. Снимите центральную балку.
11. Снимите датчик положения коленвала (ВМТ) с масляного поддона.
12. Снимите крышку масляного поддона.
13. Снимите задний диффузор катализатора, см. раздел «Трехходовый катализатор».
14. Открутите болты верхнего поддона в порядке, указанном на рисунке.
15. При помощи торцового ключа открутите четыре болта крепления двигателя к коробке передач.
16. Снимите верхний масляный поддон.
a. Вставьте инструмент подходящего размера в выемку верхнего поддона.
• Будьте осторожны, чтобы не повредить алюминиевую контактную поверхность.
• Не пользуйтесь отверткой, в противном случае можно деформировать фланец масляного поддона.
b. Отожмите верхний поддон, приподнимая и опуская инструмент.
c. Снимите верхний масляный поддон.
• Будьте осторожны, не уроните болты №15 и 16 внутрь КП.
— Установка масляного поддона 1. Установите верхний поддон. а. При помощи скребка удалите остатки герметика с контактной поверхности. • Также удалите следы оставшегося герметика… — Снятие и установка масляного… Масляный поддон, фильтр грубой очистки масла Снятие и установка Подготовительные работы • Снимите правую защиту двигателя со стороны днища. •… — Первичная цепь ГРМ. Снятие 1. Снимите двигатель и коробку передач в сборе, см. раздел «Двигатель в сборе». 2. Снимите коробку передач с двигателя. Установите… — Кронштейн масляного фильтра.… Снятие и установка кронштейна 1. Снимите нижнюю защиту двигателя. 2. Поверните передние колеса вправо. 3. Снимите правый брызговик. 4. Открутите… — Разборка блока цилиндров 1. Снимите двигатель с коробкой передачи в сборе и отделите двигатель от коробки передач. 2. Установите двигатель на стенд (специнструмент).…
Renault Megane Coupe 1998, двигатель бензиновый 2.0 л., 115 л. с., передний привод, механическая коробка передач — поломка
Комментарии 33
Тоже менял сцепление самостоятельно, выскажу свое мнение:1. Подрамник надо снимать обязательно. Фокусы со сдвигом КПП в щель между приопущенным подрамником и лонжероном не пройдут, так как будет мешать рейка с ее трубкой. Если же рейку открутить от подрамника, то до снятия подрамника остается 10 минут.2. Начать надо с отключения рулевого вала от рейки. Уплотнитель вала из салона снять почти невозможно, надо предварительно заправлять рукой со стороны моторного отсека. Оптимально переехать бугор двухстоечного подъемника передком, снять аккумулятор для облегчения доступа, открыть полностью дверь и ходить туда-обратно выпихивать резинку в салон.3. Разъеденить тягу переключения передач у меня не получилось, отключал от самой коробки. Там надо съемником стопорных колец вынуть колечко и дальше как следует очистить вэдэшкой втулочку, иначе она не вылезет вниз.4. Легче всего снять подрамник с рычагами, но без шаровых. После того как окрутите шесть болтов крепления подрамника, он проваливается немного вниз и висит на шаровых. Подставляем стойку и окручиваем шаровые от рычагов.5. Левый привод можно не снимать и масло соответственно не сливать. Просто подложить брусочек на площадку телескопической стойки, чтобы он не вываливался из КПП.6. Центрирующую оправку диска сцепления не использовал. Придерживал диск пальцем и подтягивал болты корзины. Без КПП сбоку хорошо видно по центру или нет.
Приветствую. Не подскажешь, как достать сами полуоси с кпп?
левую 3 болтами, правую или выколоткой, или снятием пыльника
Снятием пыльника, я разберусь трипоид, тем самым разьединю полуось от обоймы ?
Доброго времени суток. Сегодня стал влодельцем рено сценик 2001 года 1,6 механикаДо покупки все было нормално только доехал до дома а машина дальше не едит. Передачи включяются но не едит что может быть? Гранаты тоже не крутятся.
посмотрите стопорные кольца дифференциала. у меня где то есть пост по их замене
>> чем больше я туплю — тем больше хожу пешкомО*уительная реплика ))) добавлю в список цитат ![]()
Меня эта шляпа уже ждёт. Купил сегодня новый комплект сцепления на Renault Megane 1 Coupe ( coach ) — за 90 eur. )))
Кто может мне обьяснить, как (при снятии коробки передач) отсоединить троса то самой коробки. Они крепятся на отдельный кронштейн. Надо сам кронштейн сворачивать, или троса откреплять то кронштейна?
У меня не было троссов
Привет! Слушай очень срочно нужны размеры направляющей оправки для замены сцепления на Рено Меган 1, весь интернет скурил нет нигде.
Берешь из набора инструментов большой удлинитель с квадратом 1/2 на конце, обматываешь изолентой, центруешь по нему. Последние2 раза я так делал, оправку потерял
Приветствую. А что за выжимной стоит? Коробка JB3? У меня на сценике выжимной тоже рассыпался, новый от Сценика не подошёл — гуляет и не выжимает, хотя вилка и всё вокруг целое. И коробка почему-то подозрительно похожа на эту с фотографий…
Выжимной с экзиста заказывал. Коробки jb1, jb3, jc5 взаимозаменяемые. У меня кстати есть две, из которых можно собрать одну рабочую.
Да, в каталогах никаких вариантов, но по факту что-то не подходит. Может какой франкенштайн сделан из коробки, ибо прежний говорит, что ремонтировали там что-то…
Привет)))Такая проблема. Снял рейку и решил заодно поменять гофру, но не могу опустить подрамник.Я открутил 4 болта крепления подрамника, 2 усилителя от лонжеронов и 2 от кузова, но подрамник не опускается, может там какой-нибудь секретный болт?В книжке нет никакой информации(((Заранее спасибо))))
наверное как и я не открутили карданчик рулевого вала в салоне)))
привет! подскажи как шток коробки обратно выставил! очень нужно, а то снимал подрамник менял рейку делал капиталку, заменил сцепление в сборе а теперь не могу передачи выставить.
вообще я его маркером перед снятием помечаю… а так методом тыка раза с 10 можно попасть. я отдельно кулису менял ( свою сломал) на длинную от полноприводного рх4 сценика, тогда вдвоем делали — один чел в машине втыкает 1ю, я распускаю внизу (маш-на на подъемн), он сует рычаг туда, где первая находиться должна( примерно выставить относительно магнитолы например), я внизу затягиваю, он пробует( на подъемнике колеса вывешены, можно завести и попробовать все передачи…
спасибо буду пробовать, скажи проблемы с подушками были, бывает так завожу минута и загораются подушки.
-
Замена втулок рулевой рейки тойота корона премио
-
Дверь пандора входная замок замена
-
Эбу не видит датчик детонации
-
Распиновка кнопки птф гранта
- Схема подключения люка webasto
Составные части электроусилителя руля и принцип его работы
На автомобиле Лада Калина электроусилитель руля являет собой специальный узел, соединяющийся с рулевой системой и позволяющий обеспечить мягкую и плавную работу рулевого колеса. Благодаря тому, что автомобиль имеет установленный электрический усилитель, тяга при повороте руля будет более качественной, соответственно, водителю нужно будет прикладывать меньше усилий.
Что касается непосредственно конструкции устройства, то по стандарту оно состоит из:
- в первую очередь, схема электроусилителя руля включает в себя электромотор;
- не менее важным компонентом является блок управления;
- редукторное устройство;
- также система оснащается тремя контроллерами — момента, скорости, а также вращения коленчатого вала.
Система Калина, как видите, в целом простая по своей конструкции. Несмотря на свою простоту, даже такое устройство дает возможность получать все нужные данные и обеспечивать более простое управления транспортным средством. Для контроля за функционированием узла используется бортовой компьютер. Следует отметить, что сам узел функционирует не всегда. Он вступает в работу, когда количество оборотов достигает 400 в минуту и отключается, если скорость транспортного средства будет более 60 км/час.
В соответствии со схемой подключения такие ограничения позволяют обеспечить наиболее оптимальные свойства и дают возможность водителю управлять Калиной в промежутке, считающимся наиболее сложным. Кроме того, такие особенности были внедрены производителем из соображений безопасности. Ведь при движении на высокой скорости работа рулевой рейки с электроусилителем является более опасной. Как мы уже сообщали, использование этого узла делает рулевое колесо более чувствительным, соответственно, это может привести к определенным рискам при движении на большой скорости. Так что при движении со скоростью более 60 км/час устройство отключается автоматически, делая в целом передвижение водителя на машине более безопасным.
Основные регулировочные работы по рулевому управлению легковых автомобилей
Рулевое управление современных легковых автомобилей практически не требует обслуживания, однако следует постоянно проверять состояние защитных чехлов шаровых шарниров, люфты в деталях рулевого привода.
В автомобилях старых конструкций могут выполняться регулировки зазоров: в подшипниках рулевого механизма и в зацеплении ролика с червяком; в рулевых механизмах реечного типа.
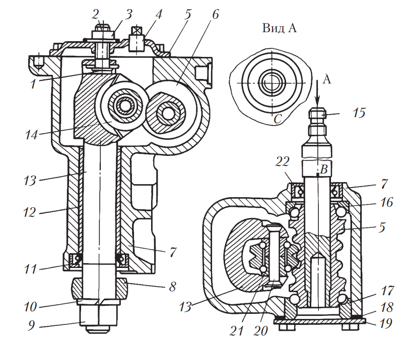
Для регулировки зазоров в подшипниках червяка рулевого механизма (рис. 12): поворачивают рулевое колесо на один — полтора оборота влево, отвертывают болты крепления нижней крышки 19 и сливают масло из картера рулевого механизма. Сняв крышку, удаляют необходимое число регулировочных прокладок 18. После этого, закрепив нижнюю крышку, снова проверяют, нет ли осевого перемещения червяка в подшипниках. При отсутствии перемещения заливают в картер масло и проверяют усилие поворота рулевого колеса (установив передние колеса на гладкой плите), которое не должно превышать 200 Н.

Рис. 12. Схема рулевого механизма типа червяк-ролик: 1 — пластина регулировочного винта вала сошки; 2 — регулировочный винт; 3 — контргайка; 4 — пробка; 5 — крышка картера рулевого механизма; 6 — червяк; 7 — картер рулевого механизма; 8 — сошка; 9 — гайка крепления сошки; 10 — пружинная шайба; 11 — сальник вала сошки; 12 — втулка; 13 — вал сошки; 14 — ролик вала сошки; 15 — вал червяка; 16, 17 — подшипники червяка; 18 — регулировочные прокладки; 19 — нижняя крышка картера; 20 — ось ролика; 21 — подшипник ролика; 22 — сальник вала червяка; В, С — метки
После проверки и устранения люфтов в деталях рулевого привода (в случае обнаружения повышенного люфта в рулевом механизме) проводят регулировку зазоров зацепления ролика с червяком. Для этого ослабляют контргайку 3 регулировочного винта 2 и, приподняв пружинную шайбу 10, завертывают регулировочный винт до установления зазора (не рекомендуется слишком затягивать регулировочный винт). Затем, придерживая регулировочный винт отверткой, затягивают контргайку. Убедившись в том, что рулевой механизм имеет допустимый люфт, проверяют усилие поворота рулевого колеса. Если оно выше 200 Н, ослабляют регулировочный винт.
Регулировку зазоров в рулевых механизмах реечного типа производят при повышенном значении люфта рулевого управления (рис. 13). В процессе эксплуатации в конструкциях рулевых механизмов реечного типа повышенный люфт может возникать из-за увеличенного зазора между рейкой и шестерней, поэтому предприятия-изготовители рекомендуют производить затяжку регулировочного винта или гайки для устранения люфта. Устранить люфт можно и регулировочным винтом, заворачивая его на 20°.

Рис. 13. Рулевое управление реечного типа автомобиля Audi: 1 — регулировочный винт; 2 — нижний вал колонки рулевого управления; 3 — хомут; 4 — крышка
В настоящее время, учитывая повышенные требования к рулевому управлению, производится не восстановление отдельных его деталей, а замена шарниров деталей рулевого управления.
Для замены шарниров рулевых тяг используют специальные съемники (рис. 14). Гайки крепления шаровых пальцев боковой и средних тяг к сошке отвертывают и выпрессовывают шаровые пальцы из отверстий сошки и рычага.

Рис. 14. Внешний вид универсального съемника для выпрессовки шаровых пальцев
Для установки нового шарнира следует очистить внутреннюю поверхность гнезда тяги под корпус шарнира и запрессовать новый шарнир в отверстие тяги до упора. Заложить в новый колпак 6…10 г смазки «Литол-24». Напрессовать колпак на шарнир с помощью универсального съемника и зафиксировать колпак на пальце стопорным кольцом.
Снимая картер рулевого механизма, отмечают количество и размещение шайб между лонжероном и картером (если они имеются), чтобы поставить их на прежнее место при установке картера. Это необходимо для сохранения соосности вала рулевого управления и вала червяка.
Признаки неисправности рулевого
Каждый автовладелец должен знать типовые неисправности рулевого управления и способы их устранения. Ведь от этого напрямую зависит безопасность как его, так и других участников дорожного движения. Признаки, указывающие автовладельцу на проблемы с рулевым, следующие:
- Стук в передней части авто, усиливающийся при движении по неровной дороге. Это указывает на выход из строя рулевых наконечников и тяг. Если стук отдаётся в руле, то это может указывать на выход из строя рулевой рейки.
- Биение руля при движении. Это может указывать как на отсутствие балансировки колёс, так и на выход из строя рулевых наконечников и шаровых опор. Проверить наконечники можно, поддомкратив автомобиль и покачав колесо из стороны в сторону. Если оно без усилий раскачивается, то необходимо менять наконечники без промедлений.
- Посторонние шумы, возникающие при повороте руля. Обычно причиной этих шумов является недостаточный уровень жидкости или необходимость её замены в ГУР. Для электроусилителей характерен незначительный шум, сопровождающий работу электропривода.
- Биение руля, появляющееся при движении по мелким неровностям. Причиной биения служит износ крестовины, подшипника рулевого вала и втулки. На современных автомобилях устанавливается пластиковая втулка, которая с течением времени разбивается.
- При движении автомобиля по прямой руль установлен не прямо, при отпускании руля автомобиль уводит в сторону. Причина кроется в неотрегулированном развале-схождении колёс. Следует максимально оперативно провести регулировку, так как это также приводит к неравномерному износу шин.
- Руль поворачивается с большим усилием. Это указывает на выход из строя усилителя. Причин этого может быть множество, начиная от перегорания предохранителя на ЭУР, и заканчивая обрывом шланга для ГУР. Необходима тщательная диагностика.
- Руль поворачивается рывками. На рейках, оснащённых ГУР, это может указывать на ослабление приводного ремня насоса или на необходимость замены жидкости. На рейках с ЭУР скачкообразное движение руля сообщает о выходе из строя электропривода усилителя. Также причина рывков руля может заключаться в подклинивании рулевой рейки.
Следует учитывать, что на рулевых рейках есть специальный регулировочный болт, позволяющий затянуть её, тем самым исключив люфт при возникновении износа. Но чрезмерное затягивание рейки приводит к утяжелению управления и, в ряде случаев, к её подклиниванию, что при движении авто может быть смертельно опасно.
Поскольку от исправности рулевого управления зависит безопасность водителя и пассажиров, доверять ремонт и регулировку следует только профессионалам. В противном случае возникает высокий риск в критический момент не справиться с управлением, что повлечёт за собой серьёзное ДТП.
Создаете заявку
с кратким описанием работ и желаемой датой ремонта. Потратите не более 3 минут
Получаете предложения
от специализированных автосервисов по SMS или в личном кабинете
Сравниваете ответы
наиболее подходящие по стоимости, отзывам, местоположению и другим параметрам
Подтверждаете запись
а также все условия ремонта и можно смело ехать в автосервис
Как подтянуть рулевую рейку с электроусилителем?
Появление стука в работе ЭУР связано с необходимостью подтянуть рулевую рейку.
Как сделать это правильно:
- Для начала нужно отключить АКБ, для этого отсоедините от него клеммы. Выкрутите крепление аккумулятора, для этого нужно открутить еще две гайки, расположенный по краям. После этого батарея извлекается и убирается в сторону.
- Затем нужно приподнять пластиковую подставку, под ней расположено еще четыре винта, они также выкручиваются.
- Сделав это, необходимо отодвинуть данную подставку вперед, пока площадка не отсоединится от подушки фиксатора корпуса воздушного фильтра. После этого накладку можно будет сдвинуть назад, это позволит обеспечить более свободный доступ к самой рейке.
- На следующем этапе необходимо будет подлезть рукой под рейку. Прямо под ней, как показано на фото, расположен прорезиненный колпачок, его нужно будет демонтировать, это позволит обеспечить доступ ключа к регулировочной гайке.
- Для выполнения работ по регулировке вам потребуется специальный ключ для подтягивания рейки, без него осуществить процедура регулировки не получится. Используя этот ключ, необходимо подлезть под рейку автомобиля, чтобы установить инструмент в необходимое отверстие.
- При регулировке будьте аккуратны, чтобы не перетянуть рейку. Если ее подтяжка будет очень сильной, то при движении на поворотах рейку будет закусывать, а это, в свою очередь, может отразиться на безопасности передвижения. Угол регулировки всегда разный, он зависит от того, как сильно гайка разболталась, но обычно при выполнении таких работ гайка подтягивается приблизительно на 30 градусов. Это должно быть достаточно для того, чтобы все стало правильно. После того, как регулировка будет окончена, необходимо будет проверить правильность выполнения данной задачи. То есть вам надо будет убедиться в том, что рулевое колесо поворачивается нормально в любое положение до упора и стука при этом нет. Если стук остался, то регулировка продолжается.
Фотогалерея «Регулировка рулевой рейки»

1. Сдвиньте подставку и отсоедините ее.

2. В этом месте под рейкой расположена регулировочная шайба.

3. Регулировка производится специальным ключом.

4. Место расположения регулировочной гайки.
Замена переключателя поворотов ВАЗ 2110
Возможная замена переключателя поворотов ВАЗ 2110 может производиться по самым разным причинам. Владельцы идут на установку новых подрулевых переключателей даже с позиции улучшения их внешнего вида, изменения функциональности.При эксплуатации неисправных переключателей не стоит забывать о безопасности управления автомобилем. Даже не вовремя выключенный поворот способен привести к возникновению аварийной ситуации.
Функциональное назначение и возможные неисправностиЗа работу внешних световых приборов отвечает левый подрулевой переключатель, который соединен с контактной группой, расположенной в блоке управления.
Наряду с эстетической составляющей, длительная эксплуатация 10-й модели может привести к некоторым проблемам с функционированием переключателя поворотов:
• неконтролируемое переключение ближнего на дальний свет;• невозвращение рычага указателя поворотов в прежнее значение;• жесткое переключение, заедание, облом рычага переключения.
Несмотря на то, что рычаги обладают некоторыми недостатками, однако несложная их замена, удобное расположение для водителя, делает вариант установки новых оригинальных деталей более предпочтительным вариантом.
Порядок проведения замены
Для скорой и качественной замены переключателя поворотов ВАЗ 2110 следует четко выдерживать последовательность операций.
Для начала проведения работ следует отключить «минусовую» клемму с аккумуляторной батареи. Далее выполняют такие операции:
• освобождают крепление верхней и нижней части кожуха рулевой колонки, открутив по два винта в нижней и верхней части;• отворачивают винт крепления блока подрулевых переключателей к кожуху;• выкручивают саморезы крепления нижней части кожуха к кронштейну рулевой колонки;• отсоединяют разъем жгута проводов питания подрулевого переключателя;• зажав фиксаторы, демонтируют подрулевые переключатели с каждой из сторон.
Если устройство планируется заменить на оригинальную деталь для этой модели, то дальнейший ремонт связан с установкой нового блока и обратных сборочных операций. В отдельных случаях, например, когда требуется замена переключателя поворотов ВАЗ 2110 совместно с блоком управления стеклоочистителями, то снимают и соединитель. Для этого дополнительно следует отсоединить питающие провода для звукового сигнала.
Если планируется установка блока переключателей от другой модели, например, от Лада Приора, то следует обратить внимание на некоторые моменты:• совпадение контактного разъема при подключении;• расположение рычагов по отношению к рулевому колесу.При лучшей функциональности, различные комбинации обладают некоторыми недостатками. Например, при установке рычагов от Приоры, невозможно включить правый указатель поворота при работе фар в режиме дальнего света.При установке рулевого колеса от Лада Калина с блоком переключателей, такая работа обходится дороже, кроме того не подходит кожух рулевого колеса. autochauffeur.ru
autochauffeur.ru



























