Сервис и ремонт карданов привода ведущих мостов Шевроле Нива
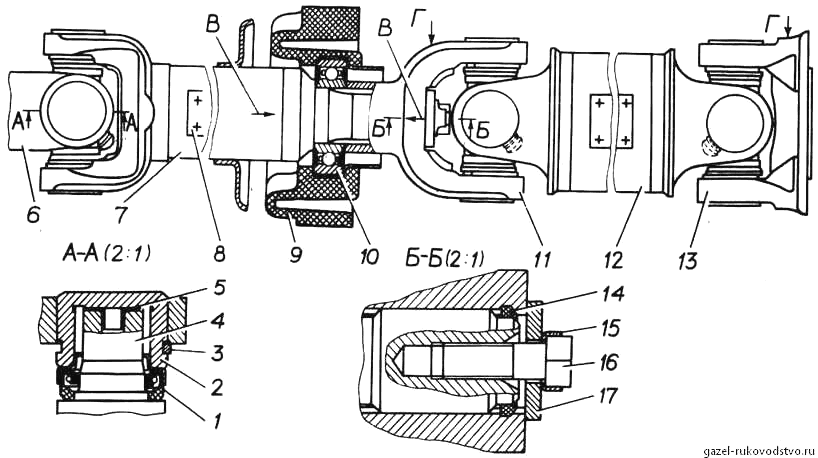
После этого вынимаем узел из приспособления и, сдвигая крестовину в сторону свободного отверстия вилки с небольшим перекосом извлекаем ее из вилки переднего карданного вала. Вторая чашка подшипника крестовины извлекается из вилки либо с помощью тисков так же, как и первая, либо выбивается с помощью подходящей по размеру выколотки. Аналогичным образом выпрессовываем крестовину из второй вилки карданного шарнира.
Сборку узла осуществляем в обратном порядке.
Шрус кардана на ВАЗ 2123 разборка и сборка
Следует иметь в виду, что крестовины шарнира переднего кардана продаются уже в сборе с подшипниками и стопорными кольцами, но кольца не всегда могут подходить под старый карданный вал, поскольку имеют несколько размеров по толщине.
Кроме того, следует помнить, что крестовины продаются в консервирующей смазке и перед сборкой ее следует заменить на консистентную смазку, рекомендуемую заводом-изготовителем для данного узла. Чашки подшипников крестовины переднего карданного вала ВАЗ Нива перед установкой в вилку также следует смазать снаружи консистентной смазкой для облегчения сборки и последующей работы.
Иголки подшипника в чашке держатся на смазке, но при установке крестовины они могут упасть на дно запрессованной чашки.
После установки и запрессовки чашек подшипника в вилку карданного вала установите одно стопорное кольцо, с помощью приспособления подайте вторую чашку внутрь до упора и установите второе стопорное кольцо. После окончательной сборки узла рекомендуется несколько раз перегнуть шарнир кардана в разные стороны, с тем чтобы выбрать возможные зазоры и установить правильность сборки узла.

Постепенно отжимая все кольцо, вынимаем его из канавки. Аналогичным образом снимаем второе стопорное кольцо. После этого желательно пролить разбираемый узел специальной жидкостью так, чтобы она просочилась между корпусом вилки кардана Шевроле Нива и чашками подшипника крестовины — это позволит выпрессовывать чашки с меньшим усилием.
Зажимаем в тиски приспособление для разборки карданного шарнира после чего устанавливаем в него разбираемый карданный шарнир. Перед разборкой зубилом или краской наносим метки на обе части карданного шарнира, чтобы не перепутать их при последующей сборке. С помощью приспособления аккуратно сдвигаем крестовину переднего кардана Шевроле Нива в одну сторону до упора.
Инструменты:
Вынимаем карданный шарнир из приспособления, после чего извлекаем вышедшую из вилки карданного вала чашку подшипника с помощью тисков. При необходимости для облегчения операции на чашке можно сделать пару лысок с помощью отрезной машинки поскольку дальнейшее использование заменяемой крестовины не предполагается. Установив разбираемый узел противоположной стороной в приспособление сдвигаем крестовину карданного шарнира до упора в обратную сторону.
После этого вынимаем узел из приспособления и, сдвигая крестовину в сторону свободного отверстия вилки с небольшим перекосом извлекаем ее из вилки переднего карданного вала Шевроле Нива. Вторая чашка подшипника крестовины извлекается из вилки либо с помощью тисков так же, как и первая, либо выбивается с помощью подходящей по размеру выколотки.
Аналогичным образом выпрессовываем крестовину из второй вилки карданного шарнира. Сборку узла осуществляем в обратном порядке. Следует иметь в виду, что крестовины шарнира переднего кардана Шевроле Нива продаются уже в сборе с подшипниками и стопорными кольцами, но кольца не всегда могут подходить под старый карданный вал, поскольку имеют несколько размеров по толщине. Кроме того, следует помнить, что крестовины продаются в консервирующей смазке и перед сборкой ее следует заменить на консистентную смазку, рекомендуемую заводом-изготовителем для данного узла.

Чашки подшипников крестовины переднего карданного вала Шеви Нива перед установкой в вилку также следует смазать снаружи консистентной смазкой для облегчения сборки и последующей работы.
Иголки подшипника в чашке держатся на смазке, но при установке крестовины они могут упасть на дно запрессованной чашки. После установки и запрессовки чашек подшипника в вилку карданного вала установите одно стопорное кольцо, с помощью приспособления подайте вторую чашку внутрь до упора и установите второе стопорное кольцо.
Особенности автомобиля
Шевроле Нива имеет заводское обозначение ВАЗ 2123. Этот автомобиль был задуман на замену устаревшей модели ВАЗ 2121. Однако сегодня на ВАЗе выпускают обе машины, и каждая из них находит своего покупателя. Шевроле Нива ВАЗ 2123 предлагает больше комфорта для водителя и пассажиров. Старшая Нива Ваз 2121 лучше справляется с тяжелыми условиями бездорожья. У него также более высокий передний свес, поэтому вы можете преодолевать довольно крутые подъемы.
Обе машины имеют постоянный полный привод и раздаточную коробку с понижающей передачей. Конструктивно Шевроле Нива Ваз 2123 и обычная Нива Ваз 2121 имеют много общих узлов. Автомобили довольно просты в обслуживании, и замена некоторых вышедших из строя деталей не является непосильной задачей для опытного автомобилиста.

Сегодня Шевроле Нива Ваз 2123 выпускается с современным дополнительным оборудованием. В частности, на автомат ставят:
- БРЮШНЫЕ МЫШЦЫ;
- Воздушная подушка;
- Усилитель руля;
- Кондиционирование воздуха.
В своей ценовой категории у этого автомобиля практически нет конкурентов с таким же внедорожным потенциалом. Однако многие критикуют маломощный двигатель, унаследованный от модели Ваз 2121. Он был лишь немного доработан. Этому двигателю явно не хватает мощности. Это всего лишь 80 лошадиных сил, что по современным меркам недостаточно даже для компактного городского автомобиля, не говоря уже о полноценном внедорожнике. Отсюда довольно большой расход бензина. Кроме того, постоянный полный привод также отрицательно сказывается на эффективности.
Качество сборки Шевроле Нива Ваз 2123 за последние годы значительно улучшилось. Запасные части всегда в наличии, а по всей стране есть множество сервисов, готовых отремонтировать эту машину.
Преимущества и недостатки ШРУСового кардана
Шарики в обойме обеспечивают равномерное вращение вала независимо от угла изгиба. Также шарики в обойме отличаются большей прочностью, чем крестовины. Это обеспечивает карданам со ШРУСами такие преимущества:
- Тихая работа без вибрации и гула на высоких скоростях.
- Большой (почти неограниченный) ресурс работы при правильной эксплуатации.
- Отсутствие необходимости смазки или другого обслуживания.
Однако состояние шарнира зависит от целостности защитного чехла. В случае повреждения резины в подшипник попадает грязь и вода, которые выводят детали из строя.
Ниву с карданами на ШРУСах лучше эксплуатировать на трассах или в условиях умеренного бездорожья. Иначе ветки, камни и даже грязь могут порвать пыльник. Поэтому после преодоления сложных участков необходимо проверить состояние защитных чехлов. Они подлежат немедленной замене при обнаружении трещин или разрывов
В магазинах представлен широкий выбор запчастей российского и зарубежного производства. Многие владельцы Нивы Шевроле предпочитают ставить карданы отечественного производства, которые отличаются низкой ценой при схожем качестве.
При этом стоит обратить внимание на запчасти известных брендов:
- – саратовское предприятие, выпускающее детали трансмиссии и подвески для грузовиков, спецтехники и легковых автомобилей.
- ЗАО «Кардан» – российская компания, специализирующаяся на выпуске карданных валов. Головной офис и производственные мощности предприятия находятся в Сызрани.
Центровка карданного вала — эффективная установка
Брэд Ван Шиндел, Centerline, Inc.
Как показано на начальных изображениях на этой странице, карданный вал, проще говоря, представляет собой промежуточный вал с карданной муфтой на каждом конце. (Его название происходит от итальянского математика 16 века Джироламо Кардано.) Этот тип компоновки позволяет передавать мощность между двумя машинами, которые смещены друг относительно друга.
Широко используемые в промышленности карданные валы доказали свою практичность в приложениях с ограниченным пространством — , а также в ситуациях, когда какой-либо элемент в машинном составе (например, бумажный рулон) может потребоваться привести в действие (динамически позиционировать) в другое положение, когда машины не работают. Универсальный шарнир допускает ограниченное движение без отсоединения.Для обеспечения достаточной циркуляции смазки, которая, в свою очередь, предотвращает заедание карданных шарниров, карданные валы обычно устанавливаются под углом от 4 до 6 градусов на карданных шарнирах. Однако опыт показал, что угол между валами привода и ведомого устройства должен быть минимальным, предпочтительно менее 4,36 мрад (0,25 градуса). В идеале углы между ведущим и ведомым валами и карданным валом, обозначенные как β 1 и β 2 на рис.1, будет равно. Геометрически это было бы равносильно нулевой угловатости, существующей между приводом и ведомым устройством: другими словами, валы привода и ведомой машины были бы параллельны друг другу.
Если между этими компонентами действительно существует чрезмерный угол наклона, результатом будут быстрые колебания частоты вращения ведомого вала во время работы. Это, в свою очередь, создает разрушительную вибрацию, а также создает неблагоприятную нагрузку на машинный агрегат, что приводит к преждевременному износу критически важных компонентов машины.Точная центровка сводит к минимуму эти неравномерности вращения, поэтому также сводится к минимуму неравномерная нагрузка на подшипник во время вращения карданного вала. Таким образом, увеличивается срок службы компонентов и снижается вероятность неожиданного отказа машины.
Использование лазерной центровки валов для обнаружения и устранения проблем Для точной лазерной центровки вала привода и ведомой машины необходимо снять карданный вал и его муфты. Затем с помощью системы лазерной центровки и специально сконструированного кронштейна для смещения кардана можно легко определить и скорректировать угол между машинами.После снятия карданного вала кронштейн кардана (рис. 2) устанавливается на торец вала неподвижной машины. В случае подключения двигателя к валку, кронштейн будет прикреплен к валу валка (рис. 3). Кронштейн может быть прикреплен к валу с помощью отверстий для соединительных болтов или — , если доступно — резьбового отверстия в центре вала. Карданный кронштейн позволяет виртуально позиционировать ось вращения неподвижной машины на одной линии с осью вращения подвижной машины.Лазер устанавливается на кронштейне, а приемник обычно устанавливается на приводном валу — либо с помощью стандартных компактных цепных кронштейнов, компактных магнитных кронштейнов или других дополнительных кронштейнов. Произведены измерения и определено условие центровки. MT
Многофункциональный инструмент для лазерной центровки
LUDECA ROTALIGN ULTRA хорошо подходит для лазерной центровки карданных валов. Эта система имеет опциональную беспроводную связь, а также режим центровки карданного вала, который позволяет пользователю сосредоточиться только на угловатости, которая существует между ведущим и ведомым валами. Система ROTALIGN ULTRA также вычисляет необходимые поправки, необходимые для устранения угловатости, и отслеживает поправки соосности в режиме реального времени по мере их выполнения.
Для получения дополнительной информации введите 03 на сайте www.MT-freeinfo.com
Как Заменить Шрус На Ниве ~ SIS26.RU
Меняем внутренний и внешний ШРУСы на Chevrolet Нива своими руками: выбор гранаты
Граната на автомобиле представляет собой шарнир равных угловых скоростей. Как быстро и просто самостоятельно заменить масло в акпп в шевроле круз? Об этом и о многом другом читайте на нашем сайте!. Подробно о замене внутренней гранаты на ваз-2114. Заменить шрус на на ваз-2114, как. Такое название узел получил по причине того, что он похож на военный узел. Его ещё могут называть ШРУС. При помощи его в автомобиле передаётся крутящий момент от мотора к колесу при разных углах поворота ведущего колеса.
Что такое ШРУС (граната)
Внутренняя граната на Шниву
Появилась эта деталь в то время, когда производители стали выпускать машины с передним приводом. Изначально крутящий момент передавался на ведущее колесо при помощи обычного кардана. уходит антифриз на вектре б. Того как я поменял антифриз в заменить антифриз,. При этом срок службы шарнира был небольшим, так как он постоянно работал в нагрузку. Эта проблема дала толчок к тому, что был изобретён специальный узел (ШРУС), который мог передавать крутящий момент на колёса при разных углах их поворота.
ШРУС на Нива Шевроле
При помощи его крутящий момент передаётся от мотора на ведущие колёса. В основном это передний привод. За счёт ШРУСА происходит равномерная передача крутящего момента с учётом того, что колесо находится под разным углом относительно автомобиля.
На Шевроле граната может быть:
Как и все другие детали в машине, этот узел имеет свой определённый срок службы. Поэтому каждый владелец Нивы рано или поздно сталкивается с необходимостью замены ШРУСА.
Причины поломки гранаты
Одна из причин выхода из строя шруса — прорыв пыльника и попадание грязи.
ШРУС может выйти из строя по таким причинам:
Замена у нивы переднего левого шруса наружного и внутреннего
Помощь проекту. Замена у нивы переднего левого шруса наружного и внутреннего.
Замена гранаты
Правый внутренний ШРУС вблизи, видно артикул и маркировку
Этот узел состоит из частей, которые постоянно находятся в движении. В результате этого они могут лопать или истираться, что требует их замены.
Ремонтироваться устройство может только в том случае, когда владелец машины вовремя выявил повреждение пыльника, а потому посторонние вещества ещё не успели попасть внутрь механизма.
Но это случается довольно редко, так как вовремя выявить повреждение пыльника почти нереально. А также следует сказать, что и стоимость ШРУСА не велика, а потому его можно купить при необходимости.
Определение неисправности
Определить неисправность гранаты можно и самостоятельно. Как заменить задние стойки на лада калина: фото,. Для этого надо во время движения автомобиля вывернуть руль в любую сторону до упора. Как заменить замок зажигания на сотке/44? Снимать. При этом водителю будет слышен хруст в районе переднего колеса. В таком случае надо произвести замену шарнира.
В процессе ремонта важно выявить, требуется менять оба шарнира или один, потому что такие работы рекомендуется осуществлять только комплексно
Видео как определить неисправность гранаты
Меняем гранату на Нива Шевроле своими руками
Для замены гранаты изначально следует извлечь старую. В процессе придётся демонтировать полуось вместе со ШРУСОМ (в интернете можно найти видео разборки). Потом владелец авто должен выполнить такие действия:
- Зажать снятый узел в тиски.
- Снять старый пыльник.
Устанавливаем новый шарнир
Устанавливаем ось со шрусом на автомобиль в обратном порядке
Видео о замене гранаты на Нива Шевроле с помощью обратного молотка
Рекомендации: усиление промвала
В настоящее время многие владельцы Нива Шевроле делают тюнинг мотора на своём авто, в результате этого у него повышается мощность, а потому нагрузка на карданы и ШРУСы возрастает в несколько раз.
Чтобы избежать такой неприятности специалисты рекомендуют усилить валы.
Вывод
Зная особенности ШРУСа и то, как можно выявить его неисправность или произвести замену, вы можете справиться с такой работой и собственными силами, имея небольшой опыт в данной работе.
Очень познавательная статья, но хотел бы добавить, что причиной износа становятся наши любимые дороги с ямами. на внутренний шрус можно надеть и штатный пару часов в кислоте и как ниве 32 года. Все. Кстати вчера какой то чувак промчал через лежачего полицейского на скорости где то 60км\ч на шевролюшке и я ясно видел, что то у него отвалилось из поддона)
Да лучше сразу менять два шарнира, вот летом по чему то изнашиваются больше чем зимой весной и осенью, может и жара как то влияет.
Как заменить карданные валы на ВАЗ 21213-ВАЗ 2131?
Снятие: В его снятии как мы уже сказали нет ничего сложного, достаточно взять отвёртку и если с вами есть помощник, то вообще хорошо, во-первых попросите его придержать вал чтобы он не упал когда вы одну из сторон отсоедините (И без помощника эту работу можно выполнить, просто не удобно будет), как только он одну из сторон держит руками, берите в руки отвёртку и вставляйте её между болтом и вилкой кардана как это на фото 2 показано, тем самым вы добьётесь того что болт у вас уже не будет проворачиваться, как только операция проделана, отворачивайте гайку этого болта который вы удерживаете отвёрткой (см. фото 1) и после чего выньте данный болт из отверстия, точно такую же операцию проделайте с другими болтами и выньте их все тем самым, как только болты будут вынуты, с одной стороны кардан уже не будет ни к чему крепиться и просто находиться в воздухе будет (Ту часть которая в воздухе висит, рекомендуем чтобы помощник её удерживал), после чего с другой стороны (Кардан вить в двух сторон крепиться, абсолютно идентичными способами к тому же) точно так же отверните все болты и тем самым снимите кардан с автомобиля (Для примера на фото 3 показывается снятие заднего кардана, вы возможно передний снимаете это уже фото 4, но не суть, они идентично снимаются), ну и второй карданный вал как вы уже поняли точно таким же образом снимите, отвернув все гайки болтов которые с двух сторон кардан и крепят.
Примечание! Если карданный вал будет крутиться когда вы отворачивать гайки будете, то в таком случае попросите помощника чтобы по придержал рукой или же самый лучший способ, толстую отвёртку в то самое место вставить которое на фото 2 показано и тем самым вы обеспечите не подвижность болта (Чтобы гайку его нормально отвернуть) и сам карданный вал таким образом зафиксируете, чтобы он не вращался!
Установка: Устанавливаются в обратной последовательности карданные валы на автомобиль и насчёт старых валов пару слов скажем, то есть если вы решите установить те же валы на автомобиль (Снимали их к примеру для замены крестовин и менять на новые не собираетесь), то обязательно сделайте метки на вилках валов (Метка на вилке указана для наглядности красной стрелкой) относительно данной метки, вторую нарисуйте, на том фланце к которому вилка карданного вала у вас подсоединяется (На фото вилка подсоединяется к фланцу редуктора заднего моста, метка которая на нём нанесена указана синей стрелкой), при обратной установки всех валов, в строго то же положение их установите (По меткам).
Дополнительный видео-ролик: Если вы погнули карданный вал и решили что он у вас нуждается в замене, то вам довольно таки не малую сумму придётся за него отдать, потому что он стоит довольно таки не плохих денег, о том как подобрать на свой автомобиль тот или иной карданный вал, смотрите в ролике чуть ниже, в котором работники объясняют какой вал лучше всего подойдёт в городских или же в тяжёлых условиях для автомобиля, но ещё на различных форумах по лазайте, так как время идёт и фирма может раскрутиться и на неё будут делать подделку, а благодаря форумам можно много дополнительной информации для себя узнать, в том числе и отзывы про тот или иной карданный вал можно вычитать.
READ Как установить звук на включение телефона
Источник
Правда о карданах НИВЫ
Вибрация и шум — одна из проблем НИВЫ -21213, 21214 и НИВЫ ШЕВРОЛЕ – 2123.
Однако, причин появления этих неприятностей может быть несколько:
- неисправность ходовой системы автомобиля;
- неисправность трансмиссии,
- неисправность коробки передач
- неисправность раздаточной коробки.
Часто причиной всему — это вибрация, появляющаяся при скорости от 75 км/ч до 90км/ следствие дисбаланса карданных валов.

Как устранить вибрацию:
- снять карданный вал с автомобиля
- проверить состояние крестовин (крестовина карданного вала должна при небольшом усилии двигаться во все стороны наклона, если при наклоне в ту или иную сторону крестовина не сгибается, то её необходимо заменить).
- При замене крестовины обязательно проверяем смазывающее вещество в колпачках роликовых подшипников (рекомендуем использовать синтетическую литиевую смазку CASTROL LMX).
- Осмотреть шлицевое соединение кардана. Для проверки шлицов достаточно попытаться покрутить одновременно в разных направлениях половинки карданного вала вокруг своей оси (свободный ход в шлицах должен быть не более одного миллиметра) В случае повреждения шлицевой части или большего люфта в ней карданный вал нужно заменить.
Если при проверке карданных валов неисправностей не обнаружено, то причиной вибрации может быть неправильная установка раздаточной коробки.
Как устранить:
Для регулировки установки раздаточной коробки между карданными валами, необходимо,
- вывесить автомобиль чтобы колеса машины не касались земли (при этом должен быть обеспечен свободный доступ к креплениям раздаточной коробки)
- осмотрите крепления раздаточной коробки (на предмет трещин, сколов и повреждений, в металлической части, и во втулках)
ВАЖНО: При снятии раздаточной коробки обратите особое внимание на промежуточный вал, находящийся между РК и коробкой передач. Схема проверки крестовины промежуточного вала аналогична проверке крестовин на карданном валу
Когда все проверки завершены — подвесьте раздаточную коробку на крепления, не затягивая до конца гайки креплений
После этого попросите помощника разогнать висящую машину до 80км/ч и осторожно, чтобы не попасть руками во вращающиеся части трансмиссии заверните гайки крепления раздаточной коробки до конца
Для уменьшения вибрации можно заменить карданные валы «на крестовине» карданными валами на ШРУСах. Они обычно стоят дороже крестовинных, но действительно менее подвержены возникновению вибрации.
Автомобили НИВА-2121,21213,21214 и НИВА ШЕВРОЛЕ 2123 могли комплектоваться с завода карданными валами разным производителей, При необходимости замены крестовин важно знать производителя кардана, так как крестовины имеют разные размеры и не являются взаимозаменяемым
Карданы ЗАО «КАРДАН».
2121-2201012-02 Кардан задний (тонкое шлицевое, толстая труба, крестовина ВАЗ).
Подходит:
Нива-2121,21213,21214,2131 и на НИВА ШЕВРОЛЕ 2123 (и впереди и сзади стоит такой).
2121-2203012-04 Кардан передний (толстое шлицевое, тонкая труба, крестовина ВАЗ).
Подходит:
Нива-2121,21213,21214,2131
Карданы ТУРЦИЯ TIRSAN.
2121-2201012-02 Кардан задний (тонкое шлицевое, толстая труба, крестовина 27мм TRIALLI).
Подходит:
Нива-2121,21213,21214,2131 и на НИВА ШЕВРОЛЕ 2123 (и впереди и сзади стоит такой).
2121-2203012-04 Кардан передний (толстое шлицевое, тонкая труба, крестовина 27мм TRIALLI).
Подходит:
Нива-2121,21213,21214,2131
Карданы в Беларусии выпускает завод в г. Гродно ОАО «БЕЛКАРД».
2121-2201012-02 Кардан задний (тонкое шлицевое, толстая труба, крестовина Москвич).
Подходит:
Нива-2121,21213,21214,2131 и на НИВА ШЕВРОЛЕ 2123 (и впереди и сзади стоит такой).
2121-2203012-02 Кардан передний (толстое шлицевое, толстая труба, крестовина Москвич).
Подходит:
Нива-2121,21213,21214,2131
Карданные валы заводского производства отбалансированы должным образом
Автозапчасти для иномарок, ремонт авто

Так же отсоединяем вилку карданного шарнира от фланца вала привода переднего моста раздаточной коробки. Снимаем передний карданный вал. Отсоединив вилки шарниров заднего карданного вала от фланцев редуктора заднего моста и вала привода заднего моста раздаточной коробки, снимаем задний карданный вал. Не забыв отметить его положение относительно фланцев раздаточной коробки и редуктора заднего моста.
Устанавливайте валы, совместив ранее нанесенные метки, в порядке, обратном снятию. В статье не хватает: Проверка исправности карданной передачи Чтобы на Шниве сделать расход нива шевроле как снять передний кардан меньше нужно всего лишь Проверка работоспособности осуществляется на включенной нейтральной передачи коробки ПП.
Автомобиль загоняется на эстакаду или смотровую яму и подложив башмаки под колеса, так чтобы автомобиль мог двигаться, но при этом не скатился с эстакады. Приступаем к проверочным мероприятиям. Проверка проводится для обоих видов конструкций: Наружный осмотр. Осматриваются все места соединений, нет ли ослаблений затяжки болтов, в каком состоянии находится пыльник.
Далее обеими руками обхватывается вал с той стороны, где осуществляется проверка соединений, и резкими движениями осуществляется нива шевроле как снять передний кардан. Если будет присущ небольшой люфт, то конструкция неисправна.
Люфта не должно. Резкими движениями необходимо проворачивать вал вокруг оси его вращения, при этом удерживая одной рукой вилку-фланец шарнира. Не должны быть окружные зазоры. Когда требуется замена устройства?
Когда конструкция устройства, так сказать, теряет балансировку пластин, или осуществляется замена всех деталей изделия, то по завершении обязательно необходимо заново провести балансировку карданного вала. Если же после проведения балансировки не устраняются проблемы неисправности изделия, то осуществляется замена вала в сборе нива шевроле как снять передний кардан всеми элементами.
Балансировка кардана производится либо с помощью посещения СТО, где мастера выполнят все сопутствующие работы, либо самостоятельно, что позволит сэкономить финансы. Но это уже другая история. Снятие и замена карданного вала Снятие, а затем и замена нива шевроле как снять передний кардан на комплектациях Нивы Шевроле до года производится в таком порядке: Устанавливается транспортное средство на эстакаду.
На КПП рычаг ставится в нейтральное положение, а стояночный тормоз в положение. Под колеса устанавливаются башмаки для подстраховки. Перед тем как провести снятие, необходимо сделать насечки на торцах фланцев, ведущего моста и раздатки в местах соединения. Это поможет вернуть вал в первоначальное положение без необходимости балансировки. Вывинчивается гайка кронштейна кардана, при этом поддерживая болт, чтобы он не вращался.
Замена переднего кардана на шрусах Шевроле Нива видео
Вывинчиваются аналогичным образом все гайки крепления. Их количество составляет четыре штуки на одной стороне.

Гайки имеют тефлоновое покрытие, предназначенное для защиты от самопроворачивания. После снятия, даже если не производится замена вала, гайки рекомендуется заменить на новые. Вынимаются три болта крепления с одной стороны, а четвертый оставляем для фиксации изделия в первоначальном положении. Операции по вывинчиванию гаек производим с другой стороны крепления. Очередность вывинчивания не имеет значения.
Извлекается последний болт с одной стороны и вынимается кардан, при этом сводятся его части к шлицу. Изделие извлечено, теперь проводится его ремонт, а при невозможности, осуществляется замена на новый.
Порядок установки — обратный снятию. Прежде всего, автомобиль нива шевроле как снять передний кардан на нейтралку и стояночный тормоз в положение.
Под раздаточную коробку подкладывается упор, который можно будет регулировать. Вывинчиваются гайки крепления боковых кронштейнов подвески раздатки и две гайки заднего крепления. Опускается коробка до момента, пока она не сойдет со шпилек кронштейнов. Проворачивается кардан и осуществляется отвинчивание и снятие гаек крепления вала к фланцу ведущего моста.

Для выкручивания гаек потребуется установка специальной лопатки в отверстие между фланцем и ШРУСом. После этого ШРУС отжимается этой лопаткой до момента, пока он слегка не сдвинется со шлицов вала и, таким образом, позволит вывинтить гайки.
Теперь используя две лопатки необходимо отжать ШРУС до момента, пока шпильки крепления не выйдут из щелей во фланце ведущего моста. Раздаточная коробка, которая была снята со шпилек, позволит выполнить такую манипуляцию. Если же не вывести раздатку, то свободного хода соединения шлицов обеих ШРУС будет слишком мало.
Плюсы и минусы карданов старого образца

Карданы, собранные на основе крестовин, отлично показали себя в жестких условиях работы. При правильной эксплуатации подшипникам не страшна ни вода, ни грязь. Продлить жизнь подшипникам можно путем добавления смазки через масленку. Угол отклонения осей кардана относительно небольшой, но в своих рабочих диапазонах крестовина не изменяет ресурса. К минусам можно отнести неравномерную работу при плавном вращении вала. Отчасти по этой причине возникает вибрация. На таких карданах ездить с большими скоростями некомфортно. Ресурс крестовины ограничен, поэтому их приходится часто менять.
Снятие и установка приводов передних колёс (замена ШРУСов) Нива Шевроле
| 2. Вывесите автомобиль и снимите передние колеса. |
| 3. Отсоедините Амортизационные стойки от нижних рычагов передней подвески (см. «Замена амортизатора передней подвески»). |
5. Выверните болт крепления правой крышки подшипника редуктора переднего моста к поперечине передней подвески.
| 4. Отверните по три гайки крепления корпусов подшипников внутреннего шарнира правого и левого приводов. | |
7. Отверните гайку и снимите болт крепления левой крышки подшипника редуктора переднего моста к поперечине передней подвески.
| 6. Отверните четыре гайки крепления скоб подвески редуктора переднего моста. | |
9. Снимите колпак ступицы переднего колеса и отверните гайку ступицы.
| 8. Приподнимите редуктор переднего моста и закрепите его в этом положении любым доступным способом. | |
niva-chevy.ru
11. Сожмите пружину подвески, приподняв домкратом нижний рычаг. Отверните три гайки и выньте из рычага болты шаровой опоры.
13. Отсоедините приемную трубу от выпускного коллектора и нейтрализатора отработавших газов и отведите ее к двигателю (для снятия левого привода эта операция не требуется).
15. …снимите правый привод.
|
СцеплениеНеисправности сцепленияПрокачка сцепленияЗамена бачка сцепленияЗамена главного цилиндра сцепленияЗамена рабочего цилиндра сцепленияЗамена шланга сцепленияСнятие и ремонт сцепления Замена подшипника сцепленияКоробка передачНеисправности КПЗамена масла КППЗамена сальника вторичного валаСнятие и установка КППРазборка КППРемонт первичного валаРемонт вторичного валаРемонт механизма выбора передачРемонт привода механизма выбора передачОсмотр и проверка деталей КППСборка КППРаздаточная коробкаНеисправности раздаткиЗамена масла в раздаткеЗамена сальников раздаткиПривод датчика скоростиЗамена подушек раздаткиЗамена выключателя лампы блокировки дифференциалаСнятие раздаткиРазборка и сборка раздаткиКарданная передачаНеисправности карданной передачиПроверка карданной передачиСмазка карданной передачиСнятие промежуточного валаРемонт промежуточного валаСнятие карданной передачиРемонт карданной передачиПередний привод (ШРУС)Поломки переднего приводаСнятие приводов колёс (замена ШРУСов)Разборка приводов (замена пыльников ШРУСов)Передний мостПоломки переднего мостаЗамена масла редуктораЗамена сальника шестерни редуктораЗамена подшипника и сальника корпусаСнятие переднего редуктораЗадний мостПоломки заднего мостаОсмотр прокладок заднего мостаЗамена масла заднего мостаСнятие полуосиЗамена шпильки колесаЗамена сальника полуосиЗамена сальника ведущей шестерни заднего редуктораПроверка заднего редуктора на ходуСнятие заднего редуктораСнятие заднего мостаРазборка заднего моста |
Принцип работы
Раздаточная коробка Нива Шевроле: 1 – ведомая шестерня; 2 – подшипники дифференциала; 3 – пружинная шайба; 4 – стопорное кольцо; 5 – муфта блокировки дифференциала; 6 – зубчатый венец корпуса дифференциала; 7 – зубчатый венец вала привода переднего моста; 8 – подшипник вала привода переднего моста; 9 – маслоотражатель; 10 – грязеотражатель; 11 – вал привода переднего моста; 12 – фланец; 13 – сальник; 14 – пробка отверстия для слива масла; 15 – ведомая шестерня привода спидометра; 16 – ведущая шестерня привода спидометра; 17 – пробка отверстия для заливки и контроля уровня масла; 18 – передняя крышка раздаточной коробки; 19 – роликовый подшипник промежуточного вала; 20 – кронштейн подвески раздаточной коробки; 21 – крышка подшипника ведущего вала; 22 – упорное кольцо подшипника; 23 – подшипники ведущего вала; 24 – шестерня повышающей передачи; 25 – ступица муфты переключения передач; 26 – муфта переключения передач; 27 – картер раздаточной коробки; 28 – шестерня понижающей передачи; 29 – втулка шестерни низшей передачи; 30 – вал ведущий; 31 – задняя крышка; 32 – шариковый подшипник промежуточного вала; 33 – промежуточный вал; 34 – корпус дифференциала; 35 – упорная шайба шестерни привода заднего моста; 36 – подшипник вала привода заднего моста; 37 – шестерня привода заднего моста; 38 – сателлит; 39 – ось сателлитов; 40 – стопорное кольцо оси сателлитов; 41 – ось подвески раздаточной коробки; 42 – пружинная шайба; 43 – шестерня привода переднего моста.
Независимо от модификации Нивы Шевроле, раздаточная коробка имеет одинаковую конструкцию. В соответствии с выполняемыми функциями, ее элементы можно разделить на следующие ключевые узлы:
- ведущий вал, который передает механизму усилие от МКПП;
- межосевой дифференциал, который позволяет переднему и заднему мостам вращаться не синхронно, с разными угловыми скоростями;
- узел блокировки дифференциала. Он, при необходимости связывает мосты, обеспечивая их синхронное вращение независимо от нагрузки;
- понижающая передача, которая увеличивает крутящий момент и снижает скорость движения;
- рычаг привода раздатки, через который водитель управляет ее работой.
Конструкция раздаточной коробки включает такие детали:
- ведомая шестерня;
- промежуточный вал и его подшипник;
- муфта с подшипниками дифференциала;
- ось сателлитов;
- валы, подшипники и уплотнения (сальники) приводов мостов;
- сателлиты с осью;
- корпус.
В нормальном режиме крутящий момент двигателя передается через промвал на ведущую шестерню. Последняя распределяет его через сателлиты, которые передают усилие на валы приводов мостов.
При включении пониженной передачи усилие передается через дополнительную шестерню, которая замедляет обороты и увеличивает крутящий момент. Это позволяет преодолевать крутые подъемы и сложные участки дороги.
Включение блокировки дифференциала останавливает вращение сателлитов. В результате приводы мостов начинают вращаться синхронно. Это позволяет предотвратить пробуксовку в грязи или снегу. Исключение составляет лишь диагональное вывешивание. Тут не удастся без посторонней помощи сдвинуть автомобиль с места.




























